- НаличиеВ наличии
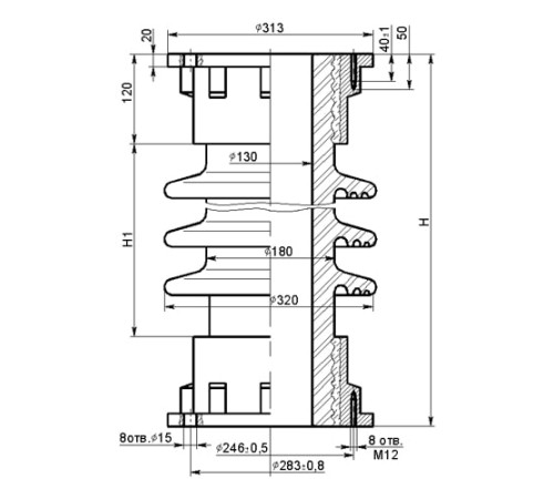
Покрышки для конденсаторов связи предназначены для надежной изоляции высоковольтного оборудования в электрических сетях. Они обеспечивают защиту от пробоя и безопасную эксплуатацию силовых трансформаторов и других устройств.
Использование качественных изолирующих покрышек повышает надежность и долговечность энергосистем, предотвращая короткие замыкания и снижая риски аварийных ситуаций. Это ключевой элемент для стабильной работы энергообъектов.
Изделия отличаются высокими диэлектрическими свойствами, стойкостью к атмосферным воздействиям и перепадам температур. Доступны различные типоразмеры (H: 320-1340, D: 185-360, L пути утечки: 41-300) и марки (202, 3107, 3218, ПКСУ и др.).
Мы предлагаем широкий ассортимент покрышек от проверенных производителей. Оформите онлайн-заказ для юридических лиц с безналичным расчетом и получите персональное коммерческое предложение с доставкой по Орше и всей Беларуси.
Нет отзывов об этом товаре.
Пока нет вопросов об этом товаре. Станьте первым!
